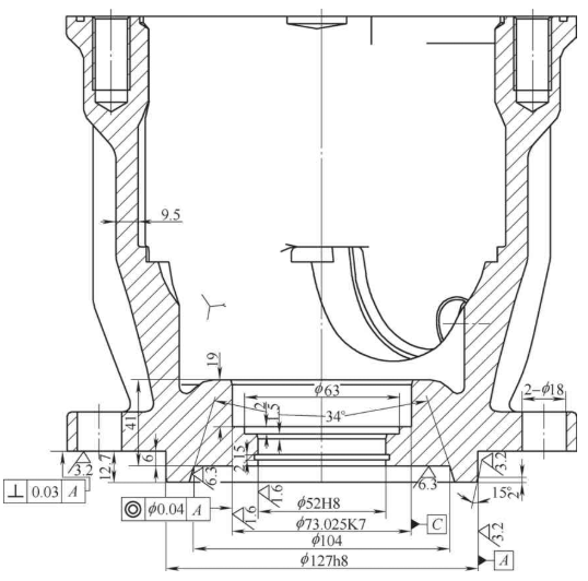
薄壁殼體傳統的加工工藝一般為制作復雜專用工裝夾具,放于車床或加工中心進行分序多序加工,分別對工件兩端進行粗加工,然后以一端粗加工過的內腔為基準,進行定位,精加工另一端,設計、布置夾緊壓板,進行手動裝夾,再利用加工中心鏜銑另一端和內部尺寸,共需四序完成。工件加工尺寸如圖1所示,由于壁厚<10mm,在裝夾和加工過程中會導致工件裝夾變形和加工變形,無法保證內孔、外圓和端面工藝尺寸及形位公差, 即使分多序加工,也較容易導致加工變形,產品合格率比較低。若最后一序精加工用加工中心加工,在裝夾過程中容易導致工件裝夾變形,且效率低下,成本較高,不適用于批量加工。無論是車削還是銑削,都要進行粗、精加工,需多套工裝,且工裝夾具皆為手動夾緊,效率低下且費時、費力。
工件的加工難點在于薄壁殼體(壁厚<10mm),工件相對較大(見圖2),內腔為異形腔體,毛坯為鑄件。在裝夾過程中容易變形,且加工端部圖樣尺寸要求嚴格,公差不易保證。如何做到既能控制工件在裝夾時的變形量,將粗、精車安排在同一工序,又能快速地實現定位和夾緊,嚴格保證圖樣尺寸和加工的穩定性,成為工藝設計方案構思的出發點。
將工件定位于車序加工,減少裝夾次數,最好將粗、精車于一序加工,實現工件的自動裝夾,以此為出發點去設計制作工藝裝備,最終設計制作出符合要求的工裝夾具。用該工裝裝夾,粗、精車圖1所示尺寸,一序完成加工,然后以該序加工后的子口進行定位,在加工中心上加工另一端的其他項目。
該工裝通過內部多點液壓撐緊,調整液壓壓力,調整撐緊力,控制變形量,進行車序加工,能夠保證產品加工圖樣要求。加工精度高、效率高,能夠很好地滿足設計要求,保證加工面工藝要求。它可應用于所有普通數控車床,有很強的適用性。液壓夾具結構如圖3所示。

圖1 工件尺寸

圖2 加工后工件三維圖
對產品毛坯進行裝夾,由端蓋、浮動定位板、彈簧和緊定螺釘組成浮動角向定位裝置,對工件進行角向定位,毛坯下端頂靠在支撐釘上,在略小于毛坯內腔直徑1~2mm的定位塊的作用下,對工件進行粗定位。由連接體、支撐體、活塞桿、O形密封圈、擋圈、頂桿和彈簧構成密封腔,在該密封腔內充滿液壓油,活塞桿在卡盤驅動軸的推動下,壓縮液壓油,推動頂桿向外移動,安裝在頂桿上的支撐釘頂緊殼體內腔壁;與此同時,心補償型標準卡盤在卡盤驅動軸的推動下,兩卡爪進行自定心對工件夾緊,為減少夾持變形,在夾緊爪上安裝可更換齒塊,減少與毛坯的接觸面。在頂桿和夾緊爪的共同作用下,夾具對毛坯進行圓心定位和夾緊。加工完成后,機床主軸帶動卡盤驅動軸回拉,夾緊爪回收,放松對工件的夾持,活塞桿在矩形彈簧的作用下進行復位,伴隨腔內油壓降低,在彈簧的作用下,頂桿縮回,將工件從夾具上取下,完成工件的裝卸。
在夾緊和松開的整個過程中,均是通過液壓驅動自動裝夾,實現了自動裝卸。實物如圖4所示。
而這些數據卻為新技術的應用提供了豐富的原始素材,通過對海量數據的整理和學習,從數據延伸為模型,進而形成病蟲害自動識別、統計分析、可視化趨勢、預測預報等功能系統,最終實現對病蟲害的智能化分析和精準預測,徹底實現科學、綠色防控,為宏觀決策提供科學依據。
該工藝裝備應注意的事項主要為液壓夾緊力的調試。心補償型標準卡盤安裝在設備主軸上,通過心補償型標準卡盤上的卡盤驅動軸與設備主軸液壓缸連接在一起,機床提供液壓力,推拉卡盤驅動軸,從而使過渡爪進行移動,通過上述夾緊原理進行裝夾和松開。為防止工件裝夾變形,可適時調整卡盤液壓夾緊力。經過多次調試液壓夾緊力,最終將夾緊力調整在0.8~1.0MPa范圍內,能保證工件裝夾不變形或加工后工件變形小,各項尺寸和形位公差均控制在圖樣要求范圍內。
賽努奇人物畫收藏趣味傾向的形成與賽努奇本人以及整個歐洲所具有的西方文化基因與背景密切相關,他們對中國繪畫所體現的中國文化、歷史內容更感興趣,收藏的趣味正是以“他者”的眼光來觀照中國文化的結果。繪畫在西方漢學家與收藏家的眼中更多的是歷史文化的窗口,滿足他們對異域異質文化的向往與探求之心。就賽努奇所藏人物畫所反映的趣味來看,其所體現的情節性和東方文化的內涵,正是西方以同構的方式來了解和認識中國文化的表現。
由于本設計采用新結構,優化了整個夾具結構,使加工工藝得到很大的改善。應用該夾具裝夾,事實證明可大大提高加工工件的形狀和位置精度以及尺寸穩定性,大大提高工件的合格率。并且自動化裝夾起到了省力、節約時間的效果。
該夾具方案為以后的夾具設計提供了一種新的思路,通過簡易的設計結構,實現快捷的自動夾緊,其低投入成本和夾具加工的便捷性,為后續工裝夾具的設計提供 了全新的參考。
(9)人類工程活動指標。貫穿全區的公路等交通設施,對災害影響較大,最能代表人類工程活動。所以人類工程活動的量化是將公路設施經柵格化和歸一化處理后,參與評價(圖3i)。
參考文獻:
[1] 楊叔子.機械加工工藝師手冊[M].北京:機械工業出版社,2001.

圖3 液壓夾具結構
1.浮動定位塊 2.緊定螺釘 3、21.彈簧 4.端蓋 5.支撐塊 6.支撐釘 7.齒塊 8.夾緊爪 9.支撐底座10.矩形彈簧 11.蓋 12.連接體 13.心補償型卡盤 14.支撐體 15.內六角圓柱頭螺釘 16.過渡爪 17.O型圈18.擋圈 19.活塞桿 20.頂桿 22.密封圈 23.產品毛坯

圖4 夾具及裝夾