1展開方式要合理,盡可能減少不必要的工序及加工的方便性.考慮實際加工工藝,合理安排加工工序,(孔與折邊距離,壓鉚加工工藝,焊接加工工藝等,以上情形要考慮加工順序的安排)
2合理選擇間隙及包邊方式
間隙及包邊方式的選擇一般原則為:長邊包短邊,間隙根據板厚不同取值不同,一般為0.2~1.0mm.
3必須合理考慮公差,
圖面公差標注有如下幾種:
A±a(公差不考慮),A0+a (不噴涂件,氧化件不須考慮走公差,噴涂件必需考慮走公差),A0-a(必須走公差),A+a-a(走平均公差)
4對于門板類及盒體必須考慮毛刺方向
對于該類零件的展開,必須要考慮毛刺,達到折彎后毛刺向里,對于一些大門板類零件設計時如未考慮烤漆掉掛工藝孔,而該零件又無其他孔,在展開時考慮加開掉掛工藝孔.
5抽牙,壓鉚,沖凸,撕裂等位置方向必須明確,畫出剖面圖,
6.對于圖面上不同孔徑的孔為了加以區別應該在圖面上用字母分別標識,不同孔徑采用不同的字母,
7必須選擇合理的刀具
8考慮烤漆及噴粉膜厚.
9尺寸標注規范化,齊全,清楚,壓鉚類標注需統一規范化.
尺寸標注規范化:在任一圖面繪制好尺寸標注前都要對尺寸標注比例進行設置,設置公式為AXP=1(A>0,P>0.P為設置值既overall scale值為P),尺寸文本字高為3.
10材質,板厚要與表達方式相結合
11選擇合適的圖紙幅面.
12.特殊角度折彎系數及內R角變化要試驗確定.
13部分尺寸較多的地方可畫出放大圖以便清楚表達.
14.易出錯的地方需重點提示,如不對稱零件可在展開圖上畫出折彎示意.
15對于需保護的地方要加以表示.
16拉絲件要標明拉絲方向.
17.所有折彎示意圖按標準一視角放置(即按我們的新圖框)毛刺面向里,不要因為放不下而改變放置位置, 可適當調節比例和選擇圖框,使得整幅圖面的排版美觀,整潔.所有折彎示意圖不可相交.



18.標注尺寸時尺寸線要整齊,統一. 尺寸線的尺寸基線點應標在圖形的端點,以免造成現場識圖錯誤.

上圖中的a很明了,清楚的表達了實際的圖形,而b中的尺寸基線點沒在圖形的端點,容易造成B區的圖形不清楚.尺寸線也不整齊.
19.碰到有些特征較多的圖形,尺寸線會比較密集,這種情況下最好換用大的圖框(A3的圖框)

20.折彎示意圖尺寸的標注要統一,不要內外兼標,特別是同一樣的折彎長度,不要縱向標內,橫向又標外,這樣容易造成現場識圖錯誤,所有規則90°角的折彎尺寸標注外尺寸,不規則角標內尺寸.

21.有些折彎邊上的特征離折彎邊太近,為了避免它們(下圖為方框)不變形,而改槽或別的工藝都不理想的情況下也可以適當的開釋放槽以減小應力,釋放槽開放的位置是內折彎尺寸線上,釋放槽的大小依實際情況而定,當然是越小越好,以免影響美觀.

如上圖,釋放槽的長度可以為c,h可為鐳射割線的寬度
22.工藝孔的開立
為了考慮零件的外觀,使得折彎邊相交的地方不出現擠料,多料的情況,工藝孔是很重要的,
1).以最常見的長邊包短邊形式加以說明,工藝孔的形狀一般為圓孔和方孔,大小為板厚的1.5倍(當然盡量選用已有刀具),位置是在包邊上,如下圖(圓孔的例子),注:c的尺寸也是很重要的,一般為:c≥B+T(板厚)-α(折彎系數)+間隙
( 0.2~1.0mm).

eg: 板厚T=1.5 A邊包B邊, 則:工藝孔的位置為a=0.5, b=0.5, 大小為Φ2.5, Φ2.0也可以.(一定要大于板厚) 2).對接的情況開在交點上即可, eg:板厚T=1.5 , 則工藝孔的位置是:a=0, b=0, 大小為Φ2.5,Φ2.0也可以.
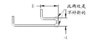
23.圖中的兩處折彎有待用現場刀具去試驗確定,多數是無法折彎的,這種情況下只能考慮開模或別的加工.

24.改槽的工藝

1) 當某些特征離折彎邊太近時,會造成這些特征變形,所以采用改小槽的形式可以緩解變形或者用標準槽折彎然后
再增加擴孔工序,當然能改小槽避免變形的就不要增加擴孔工序(注:如果同一個零件有多刀改小槽時,盡量改用同一種小槽折彎,這樣可以減少現場的操作時間).eg:在上圖中,當L≤1/2V+0.5時, 需改小槽折彎,V為標準槽寬(6T). 改小槽時還需注意一下系數的變動,一般是槽寬改小1V,系數則由標準槽的系數減0.1,改小2V,則系數由標準槽的系數減0.2.以此類推,一般只能改到4倍的板厚,當然不包括特殊情況.

2) 當H≤1/2V時, 需要改小槽折彎或加長折彎尺寸然后再銑到所需的A 尺寸(盡量少用加銑的工序因為這樣太麻
煩又增加成本),V為標準槽寬(6T).
25.所有需下料的圖形均統一放在零層,用白線表示出來,以便編程人員區分,如果想便于我們自已繪制區分的話,可以用不同顏色的字母表示
26.遇到組焊及需要拆分的零件展開時,要重視開定位孔(方孔,圓孔)都可以,這樣便于現場制作,也保證了產品的尺寸和質量.
27.展開的最大尺寸不能大于板材的長寬,不要展出來的圖形比板材還大,如果碰到比板材大的圖形,則要與工程師討論,拆開,然后再焊接在一起,板材的規格包材倉庫有.
28.需要下料的圖形不允許有斷線,重線.